Iso-Combi-Set für 3-Eck Befestigung 8/16/20mm
2029310
1013-ES-16
5408976
auf Anfrage
je 1 St
Preis und Verfügbarkeit nach Anmeldung
Verfügbarkeit beim Hersteller:
Verpackungseinheiten
| 1 St | Menge übernehmen |
Funktionen
Verkaufsdaten
| Mindestbestellmenge | 1 St |
| Bestellschritt | 1 St |
Beschreibung
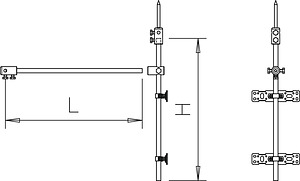
3-Eck-Befestigung für eine isolierte Fangeinrichtung im Trennungsabstand s.
• Montage an Wänden und Dachaufbauten mit zwei Befestigungsplatten
• zum Einhalten des Trennungsabstandes zu elektrisch leitenden Teilen
nach VDE 0185-305-3 (IEC 62305-3)
• Aufnahme von Fangstangen und Rundleitern mit 8, 16 und 20 mm Durchmesser
• UV-resistent und witterungsbeständig
• Dauertemperaturbereich -50°C bis +100°C
• Materialfaktor km= 0,7
Merkmale
| Marke | OBO |
| FEGIME | 2029310 |
| Herstellerbezeichnung | 1013-ES-16 |
| MPN | 5408976 |
| GTIN / EAN | 4012195613329 |
| Artikelklasse | Fangeinrichtung für Blitzschutz |
| Werkstoff | sonstige |
| Oberfläche | unbehandelt |
| Zolltarifnummer | 85381000 |
| RoHS-konform | CONFORM |