FWK-Kanal T-Stück Stahlblech verzinkt
2200739
L6866VERZ
auf Anfrage
je 1 St
Lieferzeit auf Anfrage
Verfügbarkeit beim Hersteller:
Verpackungseinheiten
| 1 St | Menge übernehmen |
Funktionen
Verkaufsdaten
| Mindestbestellmenge | 1 St |
| Bestellschritt | 1 St |
Beschreibung
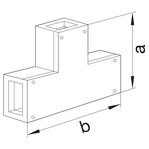
T-Stück zu Brandschutzkanal FWK 30 Rauchdichtheit I90 100x160mm verzinkt.Formteil als Systemzubehör für feuerwiderstandsfähigen Leitungsführungskanal FWK30 - I90 nach DIN4102-11 zum Schutz des Flucht- und Rettungsweges.
Merkmale
| Marke | Hager |
| FEGIME | 2200739 |
| Herstellerbezeichnung | L6866VERZ |
| GTIN / EAN | 4012740184069 |
| Artikelklasse | T-Stück für Brandschutzkanal |
| Außenbreite | 200 |
| Außenhöhe | 142 |
| Deckelbefestigung | verschrauben |
| Innenbreite | 159 |
| Innenhöhe | 102 |
| Mit Bodenlochung | Ja |
| Trennwände möglich | Ja |
| Ummantelung | Stahl |
| Isoliermaterial | sonstige |
| Oberflächenschutz | bandverzinkt und beschichtet |
| Zolltarifnummer | 73269098 |
| RoHS-konform | CONFORM |