Dachrinnenklemme Al f. Wulst 16-22mm m. Doppelüberleger f. Rd 8-10mm
2022597
339111
auf Anfrage
je 1 St
Preis und Verfügbarkeit nach Anmeldung
Verfügbarkeit beim Hersteller:
Verpackungseinheiten
| 1 St | Menge übernehmen |
Funktionen
Verkaufsdaten
| Mindestbestellmenge | 1 St |
| Bestellschritt | 1 St |
Beschreibung
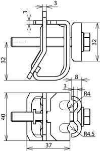
Dachrinnenklemme nach DIN EN 62561-1, zum Verbinden von Rundleitern dem Wulst der Dachrinne. Ausführung in Einschraubentechnik mit Doppelüberleger, Leitungsführung längs.
Merkmale
| Marke | Dehn |
| FEGIME | 2022597 |
| Herstellerbezeichnung | 339111 |
| GTIN / EAN | 4013364092129 |
| Artikelklasse | Anschlussklemme für Blitzschutz |
| Art der Befestigungsschrauben | Sechskantschraube |
| Art des Verbinders | Dachrinnenklemme |
| Geeignet für Rundleiterdurchmesser | 8...10 |
| Klemmbereich | 16...22 |
| Oberflächenschutz | unbehandelt |
| Werkstoff | Aluminium |
| Zolltarifnummer | 85359000 |
| RoHS-konform | CONFORM |